체크밸브란? 체크 밸브의 원리 및 종류 (Feat. 해머링 효과)
안녕하세요.
오늘은 체크밸브(Check Valve)의 원리 및 종류에 대해서 알아보겠습니다.

체크 밸브(Check Valve)란?
체크밸브는 쉽게 말해서 유체가 한쪽 방향으로만 흐르게 하는 밸브입니다.
역류 방지 장치 중 하나로 가장 많이 쓰이는 밸브 3가지 중 한가지에 속합니다. 물론 유량이나 유속에 따라 적합한 체크밸브는 정해져 있습니다.
체크 밸브의 원리는 심장의 판막과 비슷하다고 생각하시면 됩니다. 아래 그림과 같이 유체가 왼쪽에서 오른쪽으로 갈 때는 뚜껑이 열려서 갈 수 있지만, 그 반대로 움직이려고 할 때는 뚜껑이 닫혀서 흐르지 않게 됩니다.
이 뚜껑을 어떤걸 사용하냐에 따라서 체크 밸브의 종류가 정해진다고 생각하시면 됩니다.

체크 밸브(Check Valve)의 종류
1. 스윙 체크 밸브 (Swing Check Valve)
스윙 체크 밸브는 아래와 같이 디스크가 힌지에 고정이 되어 있고 유체의 흐름에 따라 디스크가 열리게 됩니다. 그리고 유체의 흐름이 멈출 경우 토출구 쪽의 압력과 디스크의 무게로 인해 닫히게 되어 역류가 방지되게 되는 원리입니다.
간단한 구조를 가지고 있어 체크 밸브 중 가장 널리 사용되고 있습니다. 하지만 수직 배관일 경우에는 디스크의 무게로 인해 해머링 현상이 발생할 수 있어 사용하지 않는 것이 좋습니다.
![]() |
![]() |
해머링 현상이란, 밸브가 급격하게 개폐되었을 경우 배관에 스팀을 보내는 경우 발생합니다. 쉽게 말해 관내 유체의 흐름이 급격하게 바뀔 경우 충격파가 발생하게 되고 그로 인해 진동과 소음이 발생할 수 있습니다.
스윙 체크 밸브를 수직으로 두었을 시 유체가 정지했을 때, 디스크의 무게의 영향으로 급격하게 밸브가 닫혀 유체의 흐름이 급격하게 바뀔 수 있습니다. 이로 역류가 될 가능성이 발생하며, 충격으로 나사가 풀리거나 심한 경우 배관이 파손되는 지경까지 이르게 됩니다.
2. 웨이퍼 체크 밸브 (Wafer Check Valve)
웨이퍼 체크밸브는 스윙 체크 밸브와 비슷한 구조를 가지지만, 디스크 대신에 웨이퍼를 사용한다는 차이점이 있습니다.
웨이퍼를 1개만 사용하는 체크밸브는 싱글 웨이퍼 체크밸브라고 부르고 2개를 사용하면, 더블(듀얼) 플레이트 웨이퍼 체크벨브라고 부릅니다.
보통은 유속이 빠르거나 배관의 크기 커질 경우 싱글 웨이퍼의 무게가 무거워 질 수 있어 더블 플레이트를 사용하게 됩니다.
| 싱글 웨이퍼 체크 밸브 | 더블(듀얼) 플레이트 웨이퍼 체크 밸브 |
![]() |
![]() |
3. 리프트 체크 밸브 (Lift Check Valve)
리프트 체크 밸브는 원판이 상하로 운동하면서 역류를 방지하게 됩니다. 리프트 체크 밸브도 구조가 간단하여 널리 사용되고 있는 제품입니다.
한가지 주의 사항이 있다면, 리프트 체크 밸브의 경우 수직형과 수평형이 나누어져 있습니다. 아래 그림은 수평형 리프트 체크 밸브의 그림입니다. 수평형을 수직으로 사용하거나 수직형을 수평으로 사용하면 체크 밸브는 작동하지 않습니다.
추가로 리프트의 경우 중간에 이물이 끼거나 점성이 있는 유체의 경우 역류 방지가 잘 되지 않을 수 있으니, 점섬이 없는 유체에 사용하시는 것을 추천드립니다.
![]() |
![]() |
4. 볼 체크 밸브 (Ball Check Valve)
볼 체크 밸브는 리프트 체크 밸브의 리프트 대신 볼을 사용하는 체크 밸브입니다.
볼을 사용할 경우 리프트형 보다 점성이 있는 유체에도 사용할 수 있고 이물이 껴도 상대적으로 오작동할 가능성이 적습니다.
유체가 정상적으로 흐를 경우 아래와 같이 볼이 떠있어 흐름이 방해되지 않고, 반대로 흐를 경우 내부 구조에 의해 볼이 막히게 되어 역류가 방지되게 됩니다.

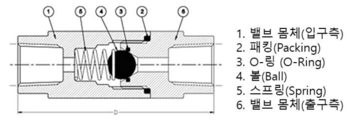
5. 인라인 체크 밸브 (In-Line Check Valve)
인라인 체크 밸브는 볼 체크밸브에 스프링이 함께 달려 있는 구조입니다.
유체가 으론쪽에서 왼쪽으로 흐를 경우 볼을 밀게 되고 스프링은 압축되게 됩니다. 그에 따라 유체는 정상적인 방향으로 움직이게 됩니다.
유체가 반대로 흐를 경우, 스프링은 장력으로 원위치로 돌아오게 되며 볼과 오링으로 입구가 밀폐되어 역류를 방지하게 됩니다.

스프링의 경우 스윙형이나 웨이퍼형에서 사용될 수 있는데, 사용함으로서의 역류의 힘을 스프링의 장력으로 흡수가 가능하여 유체의 급격한 변동을 막을 수 있어 해머링 현상이나 맥동을 방지할 수 있습니다.
이상입니다.
감사합니다.






댓글